Оружие и Доспехи :

Анатомия меча, шпаги, сабли

  автор: SHARIK  |  18-июля-2010  | 177 505 просмотров  |  Пока нет комментариев
загрузка...

Так сложилось что составные части холодного оружия, в том числе и мечей, названия даются авторами книг в меру своей распущенности. Некоторые названия имеют несколько значений. А именно: "яблоко" это шарообразная деталь на верхушке рукояти меча, а может быть и боевой частью булавы, хотя для боевой части булавы есть своё название: "било". Такую путаницу можно объяснить тем что яблоком от меча также можно наносить серьезные удары. Также противоречие есть между определениями "эфес" и "рукоять" я считаю что это синонимы, но часто рукоятью называют только ту деталь меча за которую меч держат. Я же считаю что эта деталь называется "черенок", старорусское слово "черен" также подходит. Так же есть небольшая путаница с перекрестьем сабли и крестовиной меча, "перекрестье" — не синоним слова "крестовина". Но обо всем по порядку вы прочитаете дальше,  новое определение помечено звездочкой "*" при нажатии на которую вы попадете прямо на его определение, если вы хотите вернуться к предыдущему блоку то нажмите в браузере кнопку «назад».

Образцы мечей:

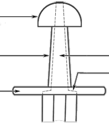
Меч* эпохи викингов

Че ренок*          
Яблоко*   Крестовина* Дол* Лезвие*   Острие*
Анатомия меча Викингов
   Хвостовик*
а все вместе - 04а все вместе 09
Рукоять*   Клинок*    

 

 

Яблоко (кончик хвостовика клинка расклепывается)vtx
Черенок    vtx
Крестовина 
рукоять меча викингов vtx Хвостовик 
vtx
Плечи клинка*
Яблоко
(приклепано к
верхней гарде)
Верхняя гарда
vtx
Черенок 
vtx
Маленькая гарда*
крепление рукояти меча викингов vtx
Заклепка
vtx
Хвостовик 
Плечи клинка*
Меч тип X по Петерсену   Меч тип R по Петерсену
 

 

Длинный меч* — Риттершверт и ножны

    Щитик     Ребро    
Хвостовик крестовины*        Дол Лезвие жесткости*   Острие
длинный 01
Яблоко Черенок Крестовина Сильная     Слабая  
      часть клинка*     часть клинка*  

ножны меча
   Устье* Наконечник ножен*
В дополнительном Приборе*, ножны для меча не нуждаются поскольку подвешиваются на Лопасть*

Шпага* с гардой из дужек

                       Клинок
а все вместе 09
Дол Ребро  жесткости   Лезвие Острие
дуэльная шпага
    а все вместе - рукоять Широкая Средная Узкая
часть клинка часть клинка часть клинка
Рукоять         

 

  Расклепанный  
кончик хвостовика
Дужка передняя*  разобранная рукоять рапиры  Пуговка выступ на
 яблоке*
 Яблоко

 Черенок рукояти 
 Втулки рукояти
 Передний упор крестовины  
 Тыльный упор  крестовины
 Блокиратор крестовины  Упоры для пальцев
   
   

 

рукоять шпаги
 Хвостовик   закрытая гарда шпаги  
     
 Плечики
 
   
 Боковая дужка

 
Нижнее кольцо  гарды
Рикассо* Боковые дужки, плавно переходящие в переднюю дужку Клинок

Меч конца 16 века с закрытой гардой

    Кончик крестовины Тыльный упор  крестовины   Острие
составные части палаша
Яблоко Передний упор крестовины Дужка от наружного Долики Лезвие  
щитка
а все вместе - 04 а все вместе 09
  Рукоять                    Клинок    

 

vtx
Яблоко
vtx
Дужка щитка
vtx
Наружный щиток*
Щиток для прикрытия костяшек пальцев
Дужка щитка
vtx
Дужка от наружного щитка
комбинированная 12 Расклепанный кончик хвостовика
 Боковая дужка
 Тыльная дужка
 Дополнительная тыльная дужка
 Боковой щиток
vtx
 Кончик крестовины
vtx
 Противоударные рожки
vtx
Дужка щитка гарды
vtx
Передняя дужка гарды
vtx
Внутренний щиток
Передний щитокvtx
Дужка щитка
комбинированная 12 vtx
 Яблоко
vtx 
 Черенок
vtx 
 Дужка от наружного щитка

Сабля*, рукояти сабель, ножны

           Черенок Крестовина Обух клинка*                  Елмань*  
28
       Головка рукояти Перекрестье*   Лезвие                Острие

 

Устье ножен            Кольца ножен* Ушко гайки ножен Наконечник ножен
сабельные 17
  Обоймица*         Обоймица   Башмак*    

 

  Рукоять сабли vtx 
Рукоять сабли (две щечки*   здесь образуют очень удобный для руки изгиб)
  vtx  Перекрестье*
  vtx 
 Конец крестовины
vtx 
Дужка  передняя
 vtx
Втулка* рукояти
  vtx 
Щитик крестовины
рукоять сабли vtx 
Головка рукояти
  vtx 
Планка на спинке рукояти*
 
Черенок рукояти
 vtx 
Конец крестовины
 
Конец крестовины

Пояснения

Меч — клинковое оружие с прямым длинным широким клинком и простой гардой, состоящей обычно только из крестовины. Массивная головка рукояти меча служила в какой-то степени противовесом клинку.

Головка рукояти, эфеса (навершие, набалдашник, яблоко) — верхняя часть рукояти клинкового оружия. Может иметь самую разнообразную форму. Головка приклепывалась или навинчивалась на хвостовик клинка и служила скрепляющим эфес элементом. У некоторых видов клинкового оружия (мечи) массивная головка рукояти являлась противовесом клинка.

Черенок (черен) — часть рукояти (эфеса) клинкового оружия, закрепленная на хвостовике клинка и предназначенная для обхвата кистью руки. Представляет собой деревянную трубку или состоит из двух деревянных или роговых пластин — щечек. Трубчатые рукояти обычно покрывались кожей и обматывались проволокой.

Рукоять (эфес, крыж) — от немецкого «Gefass» — составная часть клинкового оружия, представляющая собой совокупность черенка, головки и гарды. Во многих случаях (кавказские и азиатские шашки, различные ножи и т. д.) рукоять состоит из одного только черенка и в таком случае он называется рукоятью.

Хвостовик (стержень, стебель) — отходящая от пяты клинка стальная полоса или стержень, на котором смонтирована рукоять клинкового оружия.

Крестовина (огниво) — узкая металлическая граненая или плоская планка, расположенная между рукоятью и клинком перпендикулярно им. Один конец крестовины у многих видов клинкового оружия переходит в переднюю дужку, соединенную с головкой рукояти. Крестовина  часто называется ограничителем.

Дол (долик, желоб, кровосток) — продольный желобок на клинке, служащий для его облегчения. Клинок может иметь один или несколько долов или доликов разной длины и ширины.

Лезвие — заточенная кромка клинка, наконечника копья или топора.

Клинок (полоса) — основная часть клинкового оружия в виде стальной прямой или изогнутой полосы с однолезвийной или двулезвийной заточкой, или граненого стержня. Сечение клинка могло быть самым разнообразным: шестигранным или ромбовидным (шпаги), клиновидным (сабли) и т. д. Для обозначения плоскости или стороны клинка иногда используется устаревший термин «голомень».

Грань клинка — (голомень) часть плоскости клинка, ограниченная двумя ребрами или ребром и лезвием.

Острие — колющий конец клинка, точка соединения линий обуха (или скоса обуха) и лезвия.

Плечо клинка  (пята, основание) — верхняя не заточенная часть клинка, непосредственно прилегающая к рукояти. На пяте обычно ставились клейма.

Гарда (гард, решетка, огниво) — от французского «garde» — совокупность защитных элементов эфеса клинкового оружия. Может состоять из крестовины, дужек, чашки. Гарды с большим количеством пересекающихся дужек иногда называют корзинчатыми или решетчатыми.

Меч в полторы руки — разновидность меча с длинным клинком, рукоять которого могла обхватываться одной или двумя руками.

Ребро жесткости — выступ на полосе клинка необходимый для увеличения прочности и жесткости клинка.

Сильная часть клинка (forte) — здесь клинок имеет набольшую толщину, здесь, возле гарды лучшая защита. Это часть клинка, которой  рекомендуется парировать удары.

Слабая часть клинка (foible) — часть клинка у острия, меньше всего подходит для парирования. Противник может получить больший контроль над нашим оружием, если парировать этой частью.

Ножны (ножна) — металлический, деревянный или кожаный футляр для клинка, снабженный какими-либо приспособлениями для подвески (кольца, крючок, скоба и т.д.). Ножны подвешиваются к поясной или плечевой портупее с помощью так называемых пасовых ремешков.

Устье (верхний наконечник, верхняя оковка, верхняя обоймица) — верхняя деталь металлического прибора кожаных или деревянных ножен клинкового оружия, предохраняющая верхний конец ножен от повреждений. Устьем иногда называют также и отверстие, в которое вставляется клинок при вкладывании в ножны.

Наконечник ножен (бутероль) — нижняя деталь металлического прибора деревянных или кожаных ножен, предохраняющая их конец от повреждений.

Шпага — от итальянского «spada» — клинковое оружие с длинным прямым узким или средней ширины клинком и сложной гардой, состоящей из чашки, одной или нескольких дужек различной формы и крестовины, или только из системы дужек и крестовины.

Дужка (косица, бигель) — составной элемент гарды клинкового оружия. Передняя дужка соединяет головку рукояти с крестовиной или чашкой. Боковые дужки обычно ответвляются от передней и соединяются с чашкой или крестовиной.

Щиток — широкая часто узорчатая пластинка пластинка, составная часть гарды.

Чашка эфеса — плоская или выгнутая в сторону острия клинка металлическая пластина разнообразной формы, смонтированная на крестовине и являющаяся составной частью гарды.

Пуговка — полукруглый или граненый выступ сверху на головке-навершии рукояти, для фиксации кончика хвостовика клинка.

Рикассо — не заточенная часть в основании клинка некоторых двуручных мечей и шпаг. Задействовалась при обхвате пальцами крестовины и основания клинка, поэтому защищалась дужками, расположенными под крестовиной.

Лопасть — подвешивавшаяся к поясному ремню большая конусовидная кожаная или матерчатая петля, в которую вставлялись ножны клинкового холодного оружия или штыка.

Прибор ножен (оправа, набор) — металлические обкладки па кожаных или деревянных ножнах. Обычно состоит из устья, одной или нескольких гаек (обоймиц) и наконечника.

Сабля — клинковое оружие с длинным изогнутым однолезвийным клинком и довольно простой гардой, с 17 века в Западной Европе распространяются сабли со сложными гардами.

Елмань  — расширенная нижняя часть клинка, имеющая двулезвийную заточку. Встречается преимущественно у восточных сабель. В XVII-ХIX веках клинки с елманями изготавливались и для некоторых образцов европейских сабель.

Обух (обушок, тупье, тылье, спинка) — не заточенная кромка клинка, противоположная лезвию.

Перекрестье (огниво, крыж) — полукруглые или прямоугольные расширения или накладки в средней части крестовины, расположенные перпендикулярно к ней. Перекрестье служило для захвата клинка противника, а также для удержания клинка в ножнах.

Кольцо —  деталь ножен клинкового оружия, к которой крепится пасовый ремешок портупеи.

Щечка — пластина из кости, рога, дерева, пластмассы, камня или другого материала, скрепленная с хвостовиком клинка заклепками или винтами. Рукоять клинкового оружия образовывалась двумя щечками.

Втулка — (оковка, больстер, гайка) — широкая металлическая кольцеобразная или граненая деталь на рукояти клинкового оружия, фиксирующая  щечки рукояти на хвостовике клинка, а также предотвращающая их раскалывание.

О6оймица (оковка, обойма, бряцар) — широкая фигурная металлическая обкладка в средней части ножен, имеющая ушко с кольцом для пасового ремешка портупеи.

Гайка  — узкая металлическая пластина, обхватывающая ножны и имеющая ушко с кольцом для ремешка портупеи. Широкие фигурные гайки обычно назывались обоймицами.

Башмак (гребень, гребешок, гривка) — металлическая фигурная пластина, предохраняющая  наконечник  ножен от протирания при волочении по земле. Особым шиком считалось крепление в башмаке вращающегося колесика, при атом сабля или палаш не просто касались брусчатки или асфальта, а катились рядом с владельцем. Такую вольность, мода на которую пришла из Германии, позволяли себе только некоторые офицеры русских гвардейских кавалерийских полков, квартировавших в столице.

Портупея — от французского «porte-epee» — система ремней для подвески и ношения клинкового оружия.

Пасовые ремни портупеи — короткие ремешки, соединяющие основной плечевой или поясной ремень портупеи с ножнами клинкового оружия. Продевались в кольца или скобы па ножнах.

Скоба — выгнутая прямоугольная или полукруглая деталь на устье ножен, предназначенная для продевания короткого пасового ремешка портупеи.

Планка — металлическая продолговатая пластина, покрывающая спинку рукояти клинкового оружия по всей ее длине.

Уровень кривизны и прочие геометрические параметры

Для клинкового оружия: замеряется общая длина, длина клинка, ширина клинка у основания (если есть — ширина елмани, ширина в сужении в средней части); при взвешивании оружия приводится масса в ножнах и без ножен. Если клинок имеет кривизну, может замеряться также и кривизна клинка. Обычно, если об этом заходит речь, авторы предлагают следующий метод измерения кривизны клинка. Проводится воображаемая прямая линия между острием клинка и точкой соединения обуха и эфеса. На нее опускается перпендикуляр: а) от крайней точки дуги лезвия (1-й вариант), б) от крайней точки дуги обуха (2-й вариант). Затем замеряется расстояние от точки соединения перпендикуляра и прямой линии до острия, и показатель максимальной кривизны клинка дается в виде дробного числа, например 65/280, в котором первое число — длина перпендикуляра. Второй вариант измерения не отражает объективно степень кривизны режущей кромки клинка — лезвия. Чтобы убедиться в этом, достаточно посмотреть на некоторые виды восточного клинкового однолезвииного оружия, у которых обух клинка минимально удален от прямой линии или даже находится по другую ее сторону, а линия лезвия при этом достаточно выгнута (кукри). Более того, искривленные клинки некоторых восточных кинжалов  вообще не имеют обуха. В этом случае, если выводится показатель кривизны, перпендикуляр опускается па прямую линию, соединяющую острие и точку основания более короткого лезвия.

Линейные размеры оружия указываются в миллиметрах, масса — в граммах.

геометрия сабли
Измерение общей длины и ширины клинка Традиционный метод измерения клинка На этом рисунке хорошо видна  разница в показателях между традиционным и предлагаемым методами.

 

В.Н. Попенко. Холодное оружие Востока и Запада. Москва. 1992.
Джеральд Уинланд/ Мечи Шпаги и Сабли Настольная книга коллеционера. М.: Тривиум. 1991
Хорев В. Н. Реконструкция старинного оружия / В. Н. Хорев. — Феникс, 2006. — 249,
Emil Vollmer Werlag. Blanke  Waffen.
Квасневич Влоджимеж. Польские сабли. - СПб. ООО "Издательство Атлант" 2005.
Кирпичников А. Н. О начале производства мечей на Руси (Труды VI Международного Конгресса славянской археологии. Т.4. М., 1998. С. 246-251)
Кирпичников А. Н. Древнерусское оружие. Выпуск 1. Мечи и сабли (М.: Л., 1966)

загрузка...
  Голосов: 13
 
Теги: меч сабля
Мечи 5-11 век, топик
Мечи 12-15 век, топик
Мечи 16-17 века, тут
Двуручные мечи, здесь
Европейские кинжалы, здесь

Вы просматриваете сайт Swordmaster как незарегистрированный пользователь. Возможность комментирования новостей и общение на форуме ограничено. Если всего-лишь нашли ошибку и хотите указать о ней — выделите её и нажмите Ctrl+Enter. Для того чтобы пользоваться полным функционалом сайта и форума, рекомендуем .

Информация
Посетители, находящиеся в группе Прохожие, не могут оставлять комментарии к данной публикации.