Село Малая Лепетиха Великолепетиского р-на Херсонской обл. на левом берегу Нижнего Днепра давно известно скифознавцям, главным образом благодаря раскопкам М.И. Веселовского в 1915-1916 гг. (Ильинская, Тереножкин 1983, с. 150, 161).
Курган 10 (рис. 1) исследован 1992 Краснознаменской экспедицией Института археологии АН Украины под руководством Л. Евдокимова1. Он стоял среди других насыпей, раскопанных в том году на землях колхозов им. Кирова и «Россия», по 2,0-4,2 км к востоку-северо-востоку от с. Малая Лепетиха. Л. Евдокимов склонен был соотносить его с одним из трех небольших курганов, частично раскопанных М.И. Веселовским в 1916 рядом с Большим курганом (по современной нумерации 9). Но доказать это трудно. По имеющимся данным (ОАК 1918, с. 136-140; Латышев 1926) в 1915-1916 гг. М.И. Веселовский раскопал у Малой Лепетихи восемь курганов. Общие данные об исследовании 1915 представлены в «Отчете Археологической комиссии». Результаты работ 1916 подготовил к публикации В.В. Латышев по черновикам М.И. Веселовского. В 1992 году установлено, что курган 10 частично был раскопан небольшим прямоугольным колодцем, под которым обнаружена катакомба. Но сопоставление опубликованных данных старых раскопок с характеристиками кургана 10 не позволяют четко идентифицировать его с каким-то из раскопанных М.И. Веселовским курганов из-за разногласий в особенностях могил, их локализации, ориентации и других деталях. Таким образом, или в данных М.И. Веселовского есть много неточностей, на что уже указывали (Галанина 1997, с. 28; Мозолевский, Полин 2005, с. 28), или у Малой Лепетихи проводились еще раскопки, о которых до сих пор неизвестно.
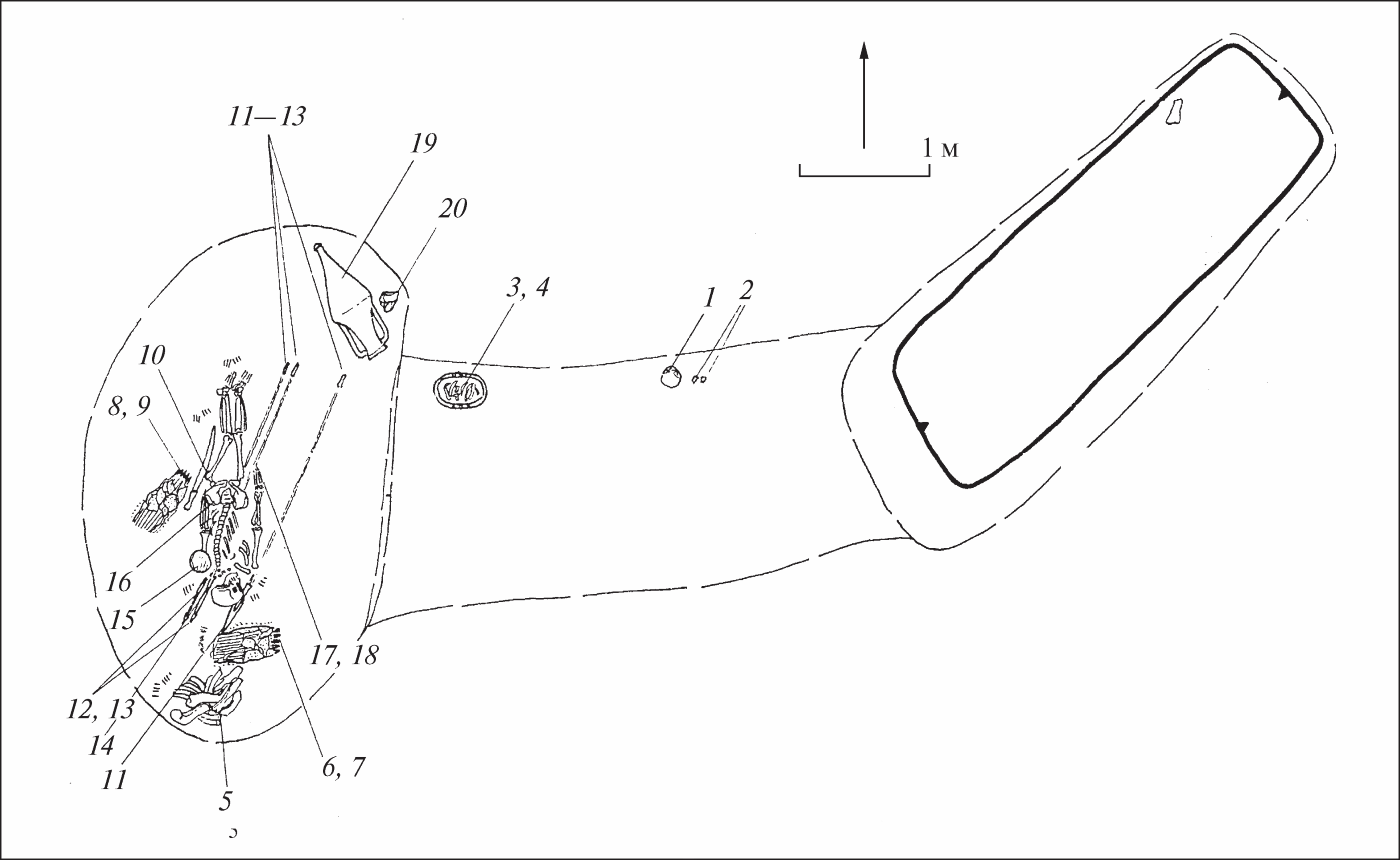
Высота насыпи 1,1 м, диаметр 34,0 м. По 8,5 м к востоку от центра обнаружена большая плита прямоугольной формы 0,8×0,6 м, что стояла вертикально. Курган окружала крепида шириной до 1,5 м, высотой до 0,6 м и диаметром 24,0 м. Под западным ее сегментом зафиксированы остатки тризны – кости животных и обломки амфор. В центральной части насыпи прослежена старый раскоп размерами 4,0 × 3,0 м при глубине 1,4 м, доведенный до материковой глины.
В кургане обнаружено шесть захоронений. Основное захоронение 6 окружал материковый выброс из могилы, впускные захоронения 1-5, устроены по кругу, концентрировались в юго-западном секторе. Локализация не в центре кургана спасла их от ограбления.
Захоронение 1 (рис. 2, 1, 2) размещалось в западной части кургана и было совершено в катакомбе. Квадратная в плане входная яма, 1,4×1,4 м, ориентирована углами по сторонам света. На глубине 2,4 м вдоль западной стены была ступенька шириной 0,3 м; еще одна, шириной 0,6 м – на глубине 0,4 м, а третья, шириной 0,8 м – на глубине 3,25 м. Вход в камеру (высота 0,6 м, ширина 1,0 м, длина 0,3 м) был выкопан в восточной стене ямы и закрыт каменной плитой. Прямоугольная в плане захоронения камера, 1,5×1,2 м, высота 0,6 м, направленная к центру кургана. Ее глубина 3,55 м, на 0,30 м ниже дна дромоса. Костяк ребенка 12 лет лежал вытянутая на спине головой на запад – к выходу. В области шеи зафиксировано скопление бусин.
С шести округлых (некоторые – треугольных пропорций) пастовых бусин две голубые с глазками, три белые и желтая (рис. 2, 3-7).
Захоронение 2 (рис. 2, 8, 9) также устроено в катакомбе. Вход в могилы располагался в 2,0 м к юго-востоку от ямы захоронения 1. Прямоугольная в плане входная яма размерами 1,3×0,9-1,1 м (расширялась на восток) была ориентирована восток-запад. Глубина её 1,4 м, дно постепенно понижалось ко входу в камеру. Он был закрыт тремя известняковыми плитами, поставленными на ребро. Дромос длиной 0,4 м имел высоту 0,6 м при ширине 1,0 м. Прямоугольное в плане захоронение камера, 1,5×1,1 м, ориентировано на северо-запад-юго-восток, имело высоту 0,7 м. Глубина 2,2 м, на 0,2 м ниже дна дромоса. Скелет ребенка 5-7 лет лежал вытянутой головой на северо-запад – к выходу. На шее было ожерелье.
Из трех пастовых бусин цилиндрической формы две черные с белыми и желтыми поперечными прожилками и одна с продольным рифлением и продольными желтыми полосами по краю и черной по центру (рис. 2, 10-12).
Захоронение 3 устроена 2,5 м к северу от гробницы 1 в катакомбе (рис. 2, 13, 14). Прямоугольная в плане входная яма, 1,1×0,5 м, ориентирована восток-запад. На глубине 2,4 м вдоль южной стены была ступенька шириной 0,4 м и высотой 0,2 м. Глубина ямы 2,7 м. Вход в подбой, расположеный в северной стене, был закрыт несколькими известняковыми плитами, поставленными на ребро. Овальный в плане подбой, 1,40×0,75 м, расположен параллельно входной яме, имел высоту 0,5 м, дно на глубине 2,8 м, на 0,1 м ниже дна входной ямы.
Скелет ребенка 7-9 лет лежал головой направленой на запад. Справа от черепа зафиксировано окрашеный в красный цвет кусок дерева, на шее обнаружены остатки бус (1), на левой руке – железный браслет (2) и бусины (3), справа от черепа – бронзовая серьга (4).
1. Бусины с поперечными желтыми и зелеными полосками (рис. 2, 16).
2. Браслет железный фрагментированный диаметром 5,0 см из круглой в сечении проволоки диаметром 0,5 см (рис. 2, 18). Железные браслеты существовали длительный период и привычные для древностей Степной Скифии: Толстая Могила (Мозолевский 1979, рис. 15, 5), Ковалевка V, курган 2, погребение 1 (Ковпаненко, Бунятян, Гаврилюк 1978, рис. 65, 13), Аулы II, курган 1 (Ковалева 1999, с. 128), Рогачик, курган 11, погребение 4 (Болтрик, Фиалко 2007, рис. 5, 2), могильник Мамай-Гора (Андрух 1999, с. 22, рис. 3) и др.
3. Пастовые круглые бусины (31 экз.) Синего, голубого и желтого цвета с белыми глазками (рис. 2, 17, 19, 20). По мнению В. Петренко, браслеты из ожерелья использовали в Скифии от V в., Особенно массово – в IV-III вв. до н. э. (Петренко 1978, с. 49).
4. Серьга бронзовая из скрученной в кольцо проволоки с замкнутыми концами, диаметр до 1,4 см (рис. 2, 15). Подобные образцы относятся к изделиям, распространенным в степном регионе в IV в. до н. э. (там же, с. 35, 37).
Захоронение 4 (рис. 3, 1-4) устроена в юго-восточном секторе кургана в катакомбе. Прямоугольная в плане входная яма, 3,8×1,4 м, ориентирована северо-восток-юго-запад. Она расширялась до дна на 0,1-0,4 м. Дно ямы от глубины 6,4 м плавно понижалось на 0,15 м к юго-западу – до дромоса. В засыпке ямы найдена придонная часть амфоры (рис. 5, 2). Вход в дромос арочной формы имел высоту 1,0 м при ширине 1,6 м. Перед ним была ступенька высотой 0,2 м. Длина дромоса 3,9 м, ширина 1,6-1,8 м, высота 1,0 м . У северной стены (рис. 4) выявлено придонную часть лепного сосуда – жаровню с пеплом (1) и два наконечника стрел (2). У входа в камеру стоял бронзовый котел (3) с костями барана и железным стержнем (4).
Овальная в плане захоронения камера, 3,9×2,4 м и высотой 1,1 м, ориентирована север-юг, перпендикулярно дромоса. Дно на глубине 7,45 м (на 0,15 м ниже дна дромоса). Скелет подростка 14-15 лет лежал на камышовой циновке головой на юг. За головой лежала кость коровы с ножом (5) и два набора стрел в колчанах горит (6, 7). Еще один сагайдачный набор (8) вместе с ножом (9) лежал у левой руки, рядом был меч (10). Под костяком наискось лежали копье (11) и два дротика (12, 13), у левого виска – золотая серьга (14), на шее – гривна (15). Обе руки украшали золотые браслеты (16, 17), средний палец правой руки – золотое кольцо (18). В северо-восточном углу находились амфора (19) и предметы конского снаряжения (20). В могиле найдено также 30 стеклянных бусин (21).
1. Придонная часть горшка с вдавленным по ребру донышком (рис. 5, 1). Диаметр донышка 12,5 см.
2. Наконечники стрел бронзовые трехлопастные с опущенными концами лопастей и тамгообразный знаками со стороны, 2 экз. (Рис. 9, 17).
3. Котел литой бронзовый с глубокой овальной чашей, высокой конической пустотелой ножкой и ручками с тремя выступами на венцах. Туловище сужается к верху и заканчивается рельефным бортиком. На ножке снизу четыре выступы-шипы для лучшей фиксации в земле, выше ее окутывает рельефный валик. Высота котла 44,0 см, ширина 27,0 см, глубина 25,0 см, высота ножки 13,0 см, диаметр ее основания 15,5 см (рис. 6). Рельефный валик привычный на ножках котлов, реже случаются рифленый орнамент и шипы. М.С. Синицын считал такие котлы собственно скифскими (Синицын 1967, с. 42, 47). А.П. Манцевич предполагала, что ручки с тремя выступами является реминисценцией фигурки козла. Наш котел можно отнести ко второй группе, датированной V и частично IV в. до н. э. (Манцевич 1961, с. 149-150). Обзор таких находок позволяет констатировать, что подобные котлы характерные для степных курганов IV в. до н. э.: боковая могила Солохи (Манцевич 1987, кат. 72), Пески, курган 9, захоронение 1 (Гребенников 1987, рис. 5, 5), Чертомлык (Алексеев, Мурзин, Ролле 1991, кат. 133), Двугорбая Могила ( Привалова, Зарайская, Привалов 1982, рис. 8, 16), Куль-Оба (Яковенко 1974, рис. 25, 2), Ильинка, курган 4, погребение 2 (Плешивенко 1991, рис. 7, 2), Соболева Могила, захоронение 2 (Мозолевский, Полин 2005, рис. 95), Толстая Могила (Мозолевский 1979, рис. 130, 2), Днепрорудный, курган 6, погребение 2 (Кузнецова, Кузнецов 2005, рис. 4, 6) и др.
4. Стержень четырехгранный железный длиной 15,0 см для накалывания мяса, заостренный на конце (рис. 8, 3).
5. Нож одноразовый железный с горбатой спиной. Лезвие закреплено заклепками в пазе восьмигранного в пересечении костяного рукояти. Длина ножа 14,0 см, лезвия – 9,4 см, ширина последнего 2,4 см (рис. 8, 5). Появление железных ножей с горбатой спинкой и костяным рукояткой связывают с началом V в. до н. э. (Петренко 1967, с. 26). Несмотря на изменения в хронологии, дата может быть упозднена ко второй половине VI в. до н. э. Изделия хорошо известны в памятниках Скифии. В Правобережной Лесостепном Поднепровье это курганы 3 у Рыжановка и в урочище. Дарьевка вблизи Шполы (там же, рис. 17, 11, 14); в Левобережной Лесостепи – курганы 504 неподалеку Броварок в Посулье (Ильинская 1957, рис. 2, 5), 3 и 11 вблизи Старого Мерчика (Бандуровский, Буйнов 2000, рис. 7, 4, 20, 15), 18 и 24 Песочинского могильника ( Бабенко 2005, рис. 26, 8; 32, 8) в Северодонецком группе; на Среднем Дону – курганы 15 круг Русской Тростянки (Пузикова 2001, рис. 24, 9) и 6, 8, 18 могильника Колбин (Савченко 2001, рис. 27, 6, 40, 13; Шевченко 2009 г., рис. 9, 1).
В степи такие находки чаще всего встречаются в комплексах IV в. до н. э. Ножи сопровождали покойников всех социальных групп.
6. Первый набор бронзовых стрел (от которых частично сохранились древки) насчитывал 35 экз. Они принадлежат к трехлопастным образцам с выдвинутой или скрытой втулкой и «сломанной» линией ребер граней, заканчиваются жалом. На некоторых из сторон проявляется литой «орнамент» в виде поперечных полос.
7. Второй набор состоял из шаровидных одного костяного острия (рис. 9, 1) и девяти деревянных (рис. 9, 2, 3), а также 73 бронзовых трехгранных с выдвинутой втулкой и «орнаментом» со стороны.
8. Третий набор содержал 105 бронзовых наконечников стрел с короткой выдвинутой втулкой и иногда с «орнаментом» с боку.
![]() |
![]() |
| Рис. 3. Малая Лепетиха, курган 10. План и сечения захоронений 4 и 5 | Рис. 4. Малая Лепетиха, курган 10. Погребение 4, план |
Костяные шаровидные втульчатые наконечники стрел появились еще в ранне скифское время: курганы 14 и 15 у купьеваха в Поворскли (Бойко, Берестнев 2001, рис. 27, 2; 32, 12, 13); Старшая Могила в Посулье (Ильинская 1951, табл. II, 25, 26); курган 1 группы Малая Рогозянка I на Северском Донце (Бандуровский, Буйнов 2000, рис. 31, 14-16); курган 2 недалеко Лазурцив в Поросье (Ковпаненко 1981, рис. 26, 4); курганы 12, 14, 16, 17 могильника Новозаведенное II на Северном Кавказе (Петренко, Маслов, Канторович 2000, рис. 1, а, б, 3, 2006, рис. 3, 18) и др. Они существовали до конца скифской эпохи, и для позднескифского времени характерные как раз для степного региона: курганы Бердянский (Чередниченко, Фиалко 1988, рис. 5, 5), второй Трехбратних (Бессонова 1973, рис. 2, 1), Толстая Могила (Черненко 1975 , рис. 1, 14), курган 4, погребение 2 круг Балтазаровки (Ковпаненко, Яковенко 1973, рис. 1, 6), курган 6, похоронен 2 у Днепрорудного (Кузнецова, Кузнецов 2005, рис. 4, 7) и др. В то же время севернее – в Лесостепи – они не очень часто (Петренко 1967, с. 48, рис. 34, 315-317).
Деревянные шаровидные втульчатые наконечники стрел имеют аналогии в курганах 4 в Скороборы вблизи Бельска (Шрамко 1987, рис. 69, 11) и 4, захоронение 3 у Ильинки (Плешивенко 1991, рис. 8, 2). Известны и черешковые острия из дерева: Богдановская обогатительная фабрика, курган 13, погребение 2 (Тереножкин и др. 1973, рис. 43, 12) и Днепрорудный, курган 6, погребение 2 (Кузнецова, Кузнецов 2005, рис. 4, 10). Похоже, что они были в обиходе в течение всего скифского времени, а их сравнительно незначительное количество объясняется не только доминированием наконечников других разновидностей, но и неустойчивым для хранения материалом.
Распределить бронзовые острия по колчанам не удалось. В отчете описаны суммарно, поэтому приводим общее их описание. Два трехгранных наконечника со «сломанными» гранями, скрытой втулкой и опущенными ребрами граней, заканчивающиеся шипами. На гранях орнамент в виде двух рядов из восьми углубленных квадратиков (рис. 9, 4). Два трехлопастных острия с едва выдвинутой втулкой и жальцами на концах лопастей. Сбоку орнамент из перекрестных линий (рис. 9, 5). 89 трехгранных наконечников со «сломанными» гранями, немного выдвинутой втулкой и ребрами с шипами на конце. На боковой поверхности орнамент из двух рядов квадратиков (рис. 9, 6). Многочисленные (120 экз.) Трехгранные острия с выдвинутой втулкой, «жальце» и орнаментом из четырех углублений, образующих крест (рис. 9, 7). Два трехлопастные острие с «тяжелой» головкой, висунотой втулкой и шипастыми концами лопастей (рис. 9, 8) и еще один сходный с едва заметной втулкой (рис 9, 12). 40 похожих наконечников, но массивных и с едва выдвинутой втулкой (рис. 9, 9). Два трехлопастные острие с выдвинутой втулкой и «жальце» (рис. 9, 10). Два похожих со слабо выдвинутой втулкой (рис. 9, 15). Трехлопастный наконечник удлиненных пропорций со скрытой втулкой (рис. 9, 11). Трехгранный экземпляр с треугольными вырезами на основах граней, образующих шипы (рис. 9, 16). Подобное острие с двумя продольными канавками в основании (рис. 9, 14). Два похожих наконечника с впадинами на гранях (рис. 9, 13).
В общем набор из погребения 4 является типичным для позднескифского времени.
9. Нож сагайдачный однолинзовый железный с костяным рукояткой имеет прямую спинку и скошенный край лезвия. Черенок закреплен в рукоятке тремя заклепками. Длина ножа 14,0 см, лезвия – 8,5 см, ширина 2,4 см (рис. 8, 4).
10. Однолезвиный железный меч имеет несколько вогнутый клинок и рукоять с овальным набалдашником и загнутым когтеобразным перекрестьем, которые были обтянуты тонкой, местами поврежденной, золотой пластиной 750-й пробы с рельефным изображением животных с обеих сторон. Длина рукоятки 13,8 см, клинка, в ходе реставрации несколько изменил свои первоначальные очертания, – 44,0 см, ширина 5,0 см (рис. 7, 1, 8, 2, 16, 1, 2).
![]() |
![]() |
| Рис. 5. Малая Лепетиха, курган 10. Керамическая посуда из погребения 4 (3 - по С.В. Полина) | Рис. 6. Малая Лепетиха, курган 10. Бронзовый котел из погребения 4 |
Сцены на рукоятке с обеих сторон похожи. На навершии изображено животное с повернутой головой, которое оперлось на передние лапы. Ухо и морда удлиненные, на теле пятнышками передано, вероятно, окрас шерсти. Определить вид животного сложно. С одной стороны, форма головы и пятнистый окрас напоминают лань, но этому противоречит длинный хвост, ограниченный бортиком. Последний присущ, вероятно, хищникам семейства кошачьих. Характерная для них и округ ла форма конечностей передних лап, и пятнистый окрас (леопард, гепард или барс), однако того нельзя сказать о длинную морду и ухо. На рукоятке передано сцену противостояния оленя и хищника семейства кошачьих с пятнистым мехом как у леопарда или гепарда. Олень с подогнутыми ногами (лежа или в галопе) агрессивно наклонил голову в сторону хищника. Последний пришелся на передние лапы (готовый к атаке) с корпусом в профиль и головой в фас. Хвост загнут на спину, концы лап округлые. Близкимя является изображение хищника и на перекрестке, но его хвост протянулся назад. Это объясняется наличием свободного пространства позади животного. Ножны заканчивались электровым наконечником-обоймой подтриугольной формы с продольным ребром, длина 13,0 см (рис. 8, 1).
Похожие однолезовийные мечи с золотой рукояткой тяготеют к степной Скифии (5 из 8 экз.). Они зафиксированы в Чертомлыке (Алексеев, Мурзин, Ролле 1991, кат. 72, 73), Соболевой Могиле (Мозолевский, Полин 2005, с. 181, 182, 352, 353, табл. 19), Первом кургане в Шульговке (Новониколаевке) ( Алексеев 2006, рис. 1, 1), Песках, курган 9, захоронение 1 (Гребенников 1987, рис. 4, 10; 2008, рис. 36, 5). Еще один приобретено в Керчи (Ростовцев 1914, с. 89, табл. V, 1), а два обнаружены в Потясминни на границе со степью: курганы Большой Рижанивський (Chochorowski et al. 1997, fot. 4, 5) и 487 неподалеку Капитановки2 (Бобринский 1910, с. 69-70, рис. 8; 8а). Все подобные мечи датируются позднескифским временем3. По сюжету к нашему ближайшие есть сцены на мечах с Рыжановка, Чертомлыка, Песок и Соболевой Могилы. На навершии, рукояти и перекрестке на них изображены те же животные. Но есть и отличия: в последних на рукоятке олень повернут к хищнику спиной, поэтому сюжет можно трактовать как сцену преследования, а не борьбы.
Неотъемлемым атрибутом подобных мечей были ножны с подтреугольным наконечником из драгоценных металлов. Электр был в Капитановке4, золотой – в Чертомлыке. Большинство таких изделий изготовлены из серебра: Рыжановка, Соболева Могила (здесь над наконечником была еще и золотая лента), Пески5. По Эрмитажному описанию серебряным было и изделие из Шульговки, представленное в публикации как золотое (Алексеев 2006, с. 46).
А.Ю. Алексеев вполне справедливо указал на подобные предметы как своеобразные индикаторы социального статуса (там же, с. 54-55). Действительно, хотя большинство могил с такими вещами (четыре из семи) боковые, во всех выявлены индикаторы высокого социального ранга покойника. В пяти (два захоронения ограблены) покойника сопровождали символы знати – шейные гривны и атрибуты военного предводителя-всадника: оружие, конь или уздечка или нагайка. Показательна и наличие в шести могилах (одна ограблена) бронзовых котлов – своеобразного показателя главы родовой группы, держателя ее основной посудины (кормильца) – вещей, по которым (вместе с другими) определяли собственно скифские могилы на соседних со степью территориях (Скорый 2003, с. 53). Интересно, что малолепетихский курган самый маленький из всех, в которых найдены мечи с золотыми рукоятками. Но исследователи отмечают, что такие мечи принадлежали, вероятно, среднему звену скифской знати, самая высокая же элита часто пользовалась двулезвийными мечами, где золотыми пластинами украшали не только рукоятку, но и ножны (Скорый 2010, с. 402).
Распространение однолезвийных мечей в Скифии исследователи в основном объясняют греческими и фракийскими воздействиями (Мелюкова 1964, с. 60; 1979, с. 199; 1995, с. 31). Но для восточных регионов не исключают и местные кавказские традиции (Бруяко 1989, с. 30). Есть мнение о скифских корнях развития этого типа оружия (Копылов, Янгулов 1987, с. 81-82). Что касается описанных однолезвиных мечей с декорированным золотом рукояткой, изготовленных, скорее всего, северопричерноморскими греческими мастерами, то справедливым представляется утверждение о именно античном влиянии.
11-13. Втоки и втулки, уцелевшие от копья и дротиков. Длина копья 2,1 м, дротиков - 2,0 м (рис. 8, 6-11). Копья и дротики с втульчатым острием (а порой и втоком) часто случаются в скифских могилах. По данным А.И. Мелюковой, дротики наиболее характерные для IV в. до н. э., но известны и раньше (Мелюкова 1964, с. 44-45). Хотя со времени выхода ее работы появились новые ранние образцы такого оружия (напр.: Скорый 1997, рис. 44, 1), вывод исследовательницы подтверждены нынешним наблюдениями (Гречко 2010 г., стр. 76).
14. Серьга кольцевидная с сомкнутыми концами изготовлена из круглой проволоки из золота диаметром 0,2 см (вес 4,6 г, проба 375). На кольцо нанизанна синяя рифленая стеклянная бусина, обтянутая накрест золотой фольгой шириной 0,45 см 750-й пробы6. Диаметр серьги 3,1-3,3 см, бусины – 1,1 см, длина отверстия 0,9 см (рис. 7, 6, 16, 5). Такие серьги со стеклянными или каменными бусинами обнаружены в курганах 3 (захоронения 2), 12 и 17 у Борисполя (Ильинская 1966, с. 157, 161-162, рис. 2, 5), вблизи будок (Ильинская 1968, табл. XXXIII, 13) в Левобережной Лесостепи; 33/5 Мастюгинського могильника в Среднем Подонье (Пузикова 2001, рис. 6, 4, 7); курганах 4, захоронение 1 группы Солоха (Мелюкова 1999, рис. 15, 3) и 1, могила 1 группы Капуловка II (Тереножкин и др. 1973, рис. 15, 3) в степном Причерноморье. В степной зоне известны подобные вещи из серебряной проволоки: курганы 14 Рогачицкий могильника (Болтрик, Фиалко 2007, рис. 6, 12), 14, захоронение 3 круг Астанин (Яковенко, Черненко, Корпусова 1970, рис. 22; 3) и 147, гробница 2 недалеко Заборов (Мелюкова 1962, табл. 4). Аналогии позволяют с наибольшей вероятностью отнести нашу сережку в IV в. до н. э.
15. Гривна из круглого в сечении стержня длиной 0,7 см из золота 500-й пробы, концы заходят друг за друга. Диаметр 14,9-15,3 см, вес 277,77 г (рис. 7, 5, 16, 8). Подобные изделия из золота – Песочин, курган 6 (Бабенко 2005, рис. 9, 4), Толстая Могила (Мозолевский 1979, рис. 126, 11), Борисполь, курган 3, захоронение 1 (Яковенко 1965, табл. I, 3) – датируют IV в. до н. э.
16. Браслет из золотой пластины 500-й пробы с отогнутыми бортиками и ребром в центре сохранился в двух фрагментах. Концы несколько заходят один за другой. Диаметр 5,0-6,7 см, ширина 4,4-4,7 см, вес 45,3 г (рис. 7, 3, 16, 9).
17. Подобный золотой браслет, поломанный обвалом свода на шесть фрагментов (есть потери в средней части). Размеры миниатюрные: ширина 3,0-3,2 см, вес около 29,0 г (рис. 7, 4, 16, 7). Подобные вещи (некоторые с двумя ребрами посередине; есть и серебряные) распространены в позднескифское время и чаще всего встречаются в степях Северного Причерноморья (Петренко 1978, с. 57). Они найдены в соседнем кургане 9 (раскопки Л. Евдокимова 1992), в Солохе (Манцевич 1987, кат. 36), Чертомлыке (Алексеев, Мурзин, Ролле 1991, кат. 82, 104), Толстой Могиле (Мозолевский 1979 , рис. 122; 123, 13; 126, 14), курганах действенной (Спицын 1906, табл. XV, 3) и 1 группы Аулы II (Ковалева 1999, рис. 1, 12), Первом Мордвиновского, Восьмом Пьятибратньому и Куль-Оби (Петренко 1978, табл. 27, 8-11). Вне степи можно назвать разве что находку из кургана 5 (1905 г..) Неподалеку Оксютинцев в Посулье (Ильинская 1968, табл. ХХII, 3). Такие браслеты рассматривают как показатель социального статуса (Мозолевский 1979, с. 211).
18. Кольцо диаметром 2,20-2,35 см из круглой в сечении проволоки толщиной 0,2 см, вес 3,51 г из золота 500-й пробы (рис. 7, 2, 16, 3). Такие изделия относятся к типу 1, по В.Г. Петренко, и золотые известны из элитных курганов Степной Скифии IV в. до н. э. (Петренко 1978, с. 59).
![]() |
![]() |
| Рис. 9. Малая Лепетиха, курган 10. Инвентарь погребения 4: 1 – кость; 2, 3 – дерево; 4-17 – бронза; 18 – стекло | Рис. 10. Малая Лепетиха, курган 10. Бронзовые предметы снаряжения коня по захоронению 4 |
19. Амфора светлоглиняная (рис. 5, 3). На горле красной краской нанесен знак в виде буквы С. Край горла обведен красной полосой, а его нижняя часть – врезной линией7. Высота 86,1 см, верхней части - 34,1 см, диаметр горла 11,2 см, максимальный туловища - 30,4 см, глубина 73,0 см. Она близка к пепаретських амфор, а по форме ножки всего похожа на найденных в Чертомлыке и Гаймановой Могиле (Монахов 1999, табл. 159, 3; 172, 2), отнесенных С.Ю. Монаховым к Чертомлицкого варианта (I-B), датированного 40-20-х гг. IV в. до н. э. (Монахов 2003, с. 99). Амфоры «винного склада» Чертомлыка датированы исследователем конца 40-х - первой половиной 30-х гг. IV в. до н. э. (Монахов 1999, табл. 159, 3; 172, 2). Северное захоронения Гаймановой Могилы С.В. Полин недавно чуть подавнив на основании новой даты клейма оттуда в 360-350 гг. до н. э. (Полынь 2009, с. 139-140). По указанным аналогиями, нашу амфору, вероятно, следует датировать временем между 360-м и 330-м гг. до н. э.
20. Амфора светлоглиняная (рис. 5, 3). На горле красной краской нанесен знак в виде буквы С. Край горла обведен красной полосой, а его нижняя часть – врезной линией7. Высота 86,1 см, верхней части – 34,1 см, диаметр горла 11,2 см, максимальный тулова – 30,4 см, глубина – 73,0 см. Она близка к пепаретських амфор, а по форме ножки всего похожа на найденных в Чертомлыке и Гаймановой Могиле (Монахов 1999, табл. 159, 3; 172, 2), отнесенных С.Ю. Монаховым к Чертомлицкому варианту (I-B), датированного 40-20-х гг. IV в. до н. э. (Монахов 2003, с. 99). Амфоры «винного склада» Чертомлыка датированы исследователем конца 40-х - первой половиной 30-х гг. IV в. до н. э. (Монахов 1999, табл. 159, 3; 172, 2). Северное захоронение Гаймановой Могилы С.В. Полин недавно сделал более давней датироку на основании новой даты клейма оттуда в 360-350 гг. до н. э. (Полынь 2009, с. 139-140). По указанным аналогиями, нашу амфору, вероятно, следует датировать временем между 360-м и 330-м гг. до н. э.
Железные S-подобные дырчатые псалии на юге Восточной Европы появились во второй половине VI в. до н. э. и существовали до конца скифской эпохи (Могилов 2008, с. 37). В степи такие предметы распространились в V в. до н. э.: курганы Близнец 2 (Ромашко, Скорый 2009, рис. 22 6-8, 10), 48, захоронение 3 Акташского могильника (Бессонова, Скорый 1986, рис. 6, 1) и 11 группы Подгородное V (Ковалева, Мухопад 1979, рис. 1, 11). В IV в. до н. э. многие из перечисленных изделий имеют шишечки или «шапочки» на концах: Краснокутский курган (Мелюкова 1981, рис. 15, 7), Страшная Могила (Ильинская 1973, рис. 5, 2). Изображения таких псалиев известны и на изделиях торевтики IV в. до н. э.: Чертомлыкская амфора, гребень с Солохи, гривна из Куль-обы. Тогда существовали и такие же бронзовые, обнаружены, например, в курганах Хомина Могила (Мозолевский 1973, рис. 30), Братолюбовский (Бессонова 2007, рис. 2, 4), 75, захоронение 1 группы Солоха (Мелюкова 1999, рис. 15 11, 12), Гайманова Могила (Ильинская 1973, рис. 8, 7), Чмырева Могила (Браун 1906, рис. 55), 4/1913 г.. Елизаветинского могильника (Галанина 2005, табл. 2, 4, 8)
![]() |
![]() |
| Рис. 11. Малая Лепетиха, курган 10. Детали уздечки по захоронению 4 | Рис. 12. Малая Лепетиха, курган 10. Погребение 5: 1 – котел; 2 – план |
Щечная бляха из бронзы со стилизованным изображением птицы, интерпретируется обычно как голубь (рис. 10, 1). Изготовлена из тонкого листа, на обороте – петля, соединенная с щитком заклепкой. На подобных бляхах изображен основном птица, реже – фантастическое существо (напр .: Мозолевский 1979, рис. 25, 7, 8, 26). Такие нащечники – типично степной вид изделий IV в. до н. э. Для лесостепного региона можно назвать поврежденную бляху из кургана 1 1897-1898 гг. у Вовковцев в Посулье (Древности... 1899, табл. XXII, 402). В степной Скифии они обнаружены в Мелитопольском кургане (Тереножкин, Мозолевский 1988, рис. 152, 6, 7), Страшной (Тереножкин и др. 1973, рис. 21, 3) и Водяной могилах (Мозолевский, Полин 2005, рис. 19 2, 3), кургане Козел (переводчиков, Фирсов 2005, рис. 1, 2). Такие предметы бывают из серебра, как в Первом Лемешовом кургане (ОАК 1914, рис. 61), и золото, Огуз (Лесков 1974, рис. 7, 12). В некоторых курганах изделия были из разного металла: в Толстой Могиле (Мозолевский 1979, рис. 21, 5, 6, 25, 7, 8, 26, 2, 5, 6, 99, 1-8) и Чертомлыке (Алексеев, Мурзин , Ролле 1991, рис. 57; 58; 60; кат. 44, 45, 2) – из серебра, золота и бронзы; в Чмыревой Могиле (ОАК 1901, рис. 30; Браун 1906, рис. 41; 43; 49) – из серебра и золота.
Пряжка круглая из бронзы с тремя выступами, два из которых оформлены в виде трех шишечек, а третий – грибовидные (рис. 10, 2). Эта пряжка диаметром 5,5 см одна из крупнейших такого типа. Последние хорошо известны в степной зоне и Днепровском Лесостепи, датируются концом V-IV вв. до н. э. (Могилов 2008, с. 64).
Пять бронзовых выпуклых круглых литых блях диаметром 5,0 см с петлей на обороте (рис. 10, 5) и три таких же диаметром 2,5 см (рис. 10, 3). Изделия относятся не к распространенных уздечковых блях скифской эпохи. Они хорошо известны на юге Восточной Европы и на Северном Кавказе. Появились они еще в раннескифского сутки, но наибольшее распространение получили в средне- и позднескифский время (Могилов 2008, с. 41, рис. 86, 16-48; 87-89, 1-20). Три бронзовые большие выпуклые бляхи с петлей, при креплений к щитку заклепкой (рис. 10, 4, 6), диаметр 5,3-6,5 см. Такие тоже типичные для степного Причерноморья IV в. до н. э., а в лесостепи известны реже (там же, с. 42). В Нижнем Поднепровье они обнаружены в Страшной (Тереножкин и др. 1973), Водяной (Мозолевский, Полин 2005, рис. 19, 20) и Толстой могилах (Мозолевский 1979, рис. 98, 1-6), Мелитопольском кургане (Тереножкин , Мозолевский 1988, рис. 152, 9). Иногда их изготавливали из золота и серебра (Алексеев, Мурзин, Ролле 1991, кат. 44; 45; 50).
Кроме того, на рисунке в отчете вместе с деталями узды с этой могилы изображена петельчастый предмет (рис. 11, 5), не упомянутый в ни в тексте отчета, ни в инвентарной описи.
21. Бусин стеклянных диаметром 0,5-0,7 см, 30 экз.: 24 желтые, 6 черные (рис. 9, 18).
Датировать могилу 4 по амфоре можно 350-330-и гг. до н. э., что подтверждается и другими находками.
Захоронение 5 (рис. 3, 1, 5-7, 12, 2) совершенное в катакомбные. Входная яма вырыта за 4,0 м к западу от ямы могилы 4. Она прямоугольная в плане, 3,7×1,1-1,4 м, ориентирована северо-запад-юго-восток, на 0,1-0,4 м расширялась до дна. На глубине 4,6 м вдоль юго-восточной стены была ступенька шириной 0,2 м. Ниже нее дно плавно понижавлось на 0,6 м на северо-запад – к входу в дромос, достигая глубины 5,5 м. Вход арочной формы имел ширину 1,6 м при высоте 1,0 м. Перед ним выкопан ровик для фиксации завеса. Его длина 1,60 м, ширина 0,20 м, глубина 0,15 м. В погребальную камеру вел дромос длиной 1,8 м, шириной 1,6 м и высотой 0,9 м. Перед входом в камеру, в западном углу дромоса, стояли две амфоры (1, 2), еще одна была в южном углу камеры (3).
![]() |
![]() |
| Рис. 13. Малая Лепетиха, курган 10. Инвентарь погребения 5: 1 – бронза; 2-4 – железо; 5 – железо/кость | Рис. 14. Малая Лепетиха, курган 10. Амфоры по захоронению 5 (по: Монахов 1999) |
Трапециевидная в плане камера, 2,6-2,8×2,0 м расширялась к западной стене. Высота 1,2 м, глубина 6,0 м. Потолок и стены тщательно заглаженные и вымазанные. Покойник лежал на прямоугольном настиле 2,0×0,9 м из досок шириной 0,1 м – вытянутая головой на запад. По черепу лежали кости коровы с ножом (4), у левого виска – золотая серьга (5), на шее – гривна (6), вдоль правой руки – набор стрел (7). На среднем пальце левой руки была кольцо (8). Вдоль настила справа от скелета лежал дротик (9), а у входа стоял бронзовый котел (10).
1-3. С.Ю. Монахов исследовал амфоры по захоронению (Монахов 1999, с. 309-311, табл. 132; 2003, с. 83, 133, 134, табл. 57, 1; 92, 7). Две - однотипные Гераклейского амфоры (вариант I-А-3), в одной ножка отражена (рис. 14, 1, 3). На горловине одной есть клеймо ЕПIΛКΩΝΟΣ / ΘΕΟΓΕΝΕΟΣ, на горле другой ромбический штамп, на котором С.Ю. Монахов разобрал только имя Агнодама. Подобный вариант использовался в 370-х-360-х гг. до н. э. Еще одну амфору «круги Фасоса» с биконическим туловищем на длинной ножке (рис. 14, 2) С.Ю. Монахов предложил обозначать как «псевдо-Фасос-6», или «тип Лепетиха». В целом комплекс амфор по захоронению 5 он датировал серединой 60-х гг. IV в. до н. э.
4. Нож однолезвийный железный с горбатой спиной и костяной ручкой. Ручка восьмигранная в сечении, с пазом, где двумя железными заклепками закреплено лезвие. Длина ручки 8,5 см, ширина – 2,0 см (рис. 13, 5).
5. Кольцевидная серьга из плоской перевитой проволоки из золота 375-й пробы с утонченными сомкнутыми концами и нанизанной биконической бусиной8, накрест обтянутой фольгой из золота 583-й пробы. Вес 4,97 г, диаметр 2,5-2,9 см, бусины – 1,2 см; длина отверстия 0,9 см (рис. 7, 9, 16, 6). Аналогии таким изделиям из драгоценных металлов со стеклянной или каменной подвесками датируют IV в. до н. э. В курганах 19 у Русской Тростянки (Пузикова 2001, рис. 30, 2) и 4, захоронение 2 вблизи Балтазаровка (Ковпаненко, Яковенко 1973) они сделаны из золотой проволоки, в кургане 9 круг Старого Мерчика - из серебряной (Бандуровский, Буйнов 2000, рис. 15, 6).
6. Гривна из белого металла (серебра?) Диаметром 14,5 см из круглого в сечении стержня, скрученного в полтора оборота (рис. 7, 7). Похожие характерные для памятников IV в. до н. э.: курганы 35/33 Мастюгинського могильника (Либеров 1965, табл. 35, 5), 14 у Сеньковки (Покровская 1965, табл. I, 7), 3 вблизи Дудчаны (Фридман 1987, рис. 3, 4) и 13 неподалеку Львового (Евдокимов 1992, рис. 4, 5). Для того времени известны и серебряные гривны, покрытые золотом: Чертомлык (Алексеев, Мурзин, Ролле 1991, кат. 57) и Макеевка (Полидович 1998, рис. 3, 1).
7. Набор стрел состоял из 34 бронзовых трехгранных ветер со скрытой втулкой и «сломанными» ребрами граней, заканчивающихся жальцем. На боковой поверхности орнамент из четырех прямоугольных вдавлений, образующих крест (рис. 13, 1). Такие обнаружены в захоронении 5 кургана 7 в Новорайске (Шахров 1990, рис. 3, 12) и Солохе9 (Манцевич 1987, кат. 54, 6).
8. Кольцо с круглой проволоки из золота 375-й пробы диаметром 0,15 см с утонченный концами заходят друг за друга. Диаметр 2,25-2,30 см, вес 1,81 г (рис. 7, 8, 16, 4). Она похожа на найденную в погребении 4, и, как отмечалось, имеет аналогии в степных курганах знати IV в. до н. э.
9. От дротика длиной 2,0 м уцелели железные наконечники с типичным треугольным пером с жальцем длиной 35,0 см и вток длиной 8,0 и диаметром 1,8 см (рис. 13 2-4). Выше уже обращено внимание на такие изделия.
10. Котел литой бронзовый, близкий к найденному в могиле 4. Он имеет глубокую овальную чашу с бортиком по краю, где симметрично расположены две ручки с тремя выступами. Ножка пустотелая, с рельефным валиком посередине и рубчатой полосой внизу. Диаметр чаши 21,5-34,0 см, глубина – 21,0 см, высота ножки 9,0 см, диаметр ее основания 11,0 см (рис. 12, 1).
Узкую дату для могилы 5 дают амфоры середины 360-х гг. до н. э., чем не противоречит и другой инвентарь.
Захоронение 6 (рис. 15), раскопано ранее, было основным, размещалось под центром кургана и устроена в катакомбе. Трапециеподобная в плане входная яма, 2,4×1,2-1,5 м, ориентирована северо-запад-юго-восток, расширялась до входа в дромос. На глубине 2,1 м вдоль юго-восточной стены была ступенька шириной 0,4 м и высотой 1,4 м. Глубина ямы 3,5 м. До дна она розширялась на 0,10-0,15 м. Вход в дромос был выкопан в северо-западной стене. Его высота 1,1 м, ширина 1,5 м. Длина дромоса 1,8 м, ширина – 1,5 м, высота – 0,9 м. Прямоугольная в плане камера, расположенная перпендикулярно к дромосу, имела размеры 3,0×2,1 м и была ориентирована северо-восток-юго-запад. Ничего нового не обнаружено.
Все могилы кургана 10 представлены катакомбами. По классификации В.С. Ольховского (Ольховский 1991, с. 27, 28, 35), основное захоронение 6 относится к типу III, вариант 1А; гробницы 4 и 5 – к типу V, вариант 2, а 3 – к типу И, вариант 1. Очень подобные могилы детских захоронений 1 и 2. Но квадратная и прямоугольная формы входной ямы заставляют отнести их, соответственно, к типу IХ, вариант 2А и типа VI и, вариант 2. Всех их можно датировать IV ст. до н. э.
Одним из явлений, которое привлекает внимание к кургану 10 является компактно расположеные детские захоронения в западной части. Это дает основание интерпретировать их как небольшое детское кладбище. В пользу этого свидетельствует и сходство могил 1 и 2. Немногочисленные украшения, обнаруженные в них, довольно типичны для небогатых детских захоронений (Черненко, Бунятян 1977, с. 84-85, табл. XXII; Ильинская, Тереножкин 1983, с. 185). Впускные детские захоронения нередки в курганах степной Скифии (Бунятян 1985, с. 61). Иногда они бывают боковыми за центрального детского захоронения – угол, курган 23 (Березовец 1960, с. 69-70). Но в нашем случае речь идет о компактной группе. Три детские погребения в ямах обнаружены в западном секторе кургана 6 у Новорайска с основной скифской могилой, хотя автор предполагает и возможную сарматскую их принадлежность (Шахров 1990, с. 76-77; рис. 6, 6). Два детских захоронения зафиксированы в юго-западном секторе Вишневой Могилы. Ю.В. Болтрик предполагает их одновременность центральной гробницей (Болтрик 2000, с. 131, 136; рис. 1, а). Четыре детские захоронения обнаружены в северном и юго-западном секторах кургана 4 круг Ильинки, интерпретированном как могильник военной аристократической семьи (Плешивенко 1991). Богаче чем в нашем кургане был и их сопровождение: серебряный и бронзовые перстни, колчаны со стрелами, ножи, зеркало, ожерелье, бронзовые кольца. Ближе к нашей (ожерелье, чем, бронзовая серьга) был инвентарь в боковых детских захоронениях юго-восточной части кургана 2 группы Первомаевка II (Евдокимов, Фридман 1991, с. 76-79). В юго-восточной половине кургана 4 этой группы выявлено два детских захоронения: богаче в сопровождении колчана, килики, бус, сережек, электроиз гривны; беднее – с серьгой, бусами, точильным бруском и браслетом (Евдокимов, Фридман 1987, с. 101-104, 107; рис. 12, 14, 18). Детские захоронения в кургане 1 у Каменки Днепровской концентрировались в северном и северо-западном секторах кургана (Рассамакин 1987). Таким образом, есть все основания полагать, что в отдельных (хотя и не слишком многочисленных) случаях скифы использовали боковую пола кургана для захоронения детей, образовывали небольшие кладбища.
В общем курган 10 можно датировать IV в. до н. э. Не совсем поняла последовательность боковых могил. Немного для того дает и стратиграфия. По чертежам, могила 3 пересекала насыпь (впускная). Могила 4 пересекала материковый выброс из центральной гробницы 6, а выброс из него размещался на юго-восток от входной ямы. Из профиля бровки не понятно, лежал он на погребальной почве (катакомба вырыта вместе с центральной до сведения насыпи), был в толще самой насыпи или на его поверхности (впущенный позже).
Курган был возведен над центральной могилой 6 где-то в первой трети IV в. до н. э. Впоследствии туда была впущенный катакомба с набором амфор середины 360-х гг. до н. э., а еще позже – с амфорой середины-третьей четверти того же века. В IV в. до н. э. здесь были похоронены и трое детей, но последовательность их не устанавливается.
Примечания
1. В работе экспедиции также принимали участие: археологи Н.М. Куприй и Н.А. Рычков, художники О. Поруцький и С.А. Желтоногов и студенты вузов Киева, Херсона и Одессы. Материалы частично опубликованы: Данилко, Куприй 2004; Витрик, Данилко 2010.
2. В литературе курган приписывают также к селам Турия или Златополь.
3. По мнению С.В. Полина, эту дату можно сузить до середины-третьей четверти IV в. до н. э. (Мозолевский, Полин 2005, с. 353). По данным А.Ю. Алексеева, большинство экземпляров тяготеют к последней трети IV в. до н. э. (Алексеев 2006, с. 56).
4. По данным А.И. Мелюковой, он золотой (Мелюкова 1964, с. 59).
5. В Песках наличие серебряного наконечника установлена по данным отчета (Мозолевский, Полин 2005, с. 352).
6. Благодарим И.С. Витрик за любезно предоставленные данные и фото золотых изделий из кургана 10.
7. Благодарим С.В. Полину за любезно предоставленный рисунок и измерения амфоры, а ему и С.Ю. Монахову – за консультации по атрибуции амфоры.
8. Согласно отчету, она красная. Осмотр показал, что она с камня желтовато-коричневого цвета, покрытого трещинками с красным заполнением (Витрик, Данилко 2010 г., стр. 66).
9. Там крестообразный знак есть только на одной грани, на двух других – пара продольных полос.
Г.Л. Євдокимов, Н.М. Данилко, О.Д. Могилов Скіфський курган 10 біля с. Мала Лепетиха у Нижньому Подніпров'ї // Археологія. - 2012. - № 2. Перевод с украинского, оригинал здесь















