![]() |
Крестьянские боевые ножи |
| на фото мечеобразный кинжал Базелярд. Полная длина 78.2 см. длина клинка 65 см, черенок рукоятки (hilt) 10.8 см. Конец 14 - начало 15 века. |
Крестьянские боевые ножи
Для обозначения средневековых ножей используются термины Хаусвер (от нем Hauswehre – защитник жилищ) и Бауэрснвер (от нем. Bauersnwehr – защитник крестьян) в которых прямо подчеркивается низкий класс людей использующих это оружие. Есть терминологическое разделение Корд – боевой нож. Корделяс – длинный боевой нож с расширяющимся к острию клинком, аналог фальчиона и гросмейстера.
Вне зависимости от формы и габаритов нож имеет одностороннюю заточку. Только с 19 века с легкой руки полковника Боуи острие клинка тяжелого ножа становится скошенным и заостренным на одну треть. Собственно боевых ножей известно немного. От хозяйственных они отличаются более массивным клинком и чем-то наподобие гарды или упора рукоятки. Клинки больших ножей в большинстве случаев были с прямым обухом, иногда с совсем небольшим скосом, даже незначительные изгибы клинка являются большой редкостью.
Самыми ранними боевыми ножами были всевозможные саксы. Более поздние ножи от них мало отличались, поэтому саксом могут назвать большой нож, например 14 века. Но под закат средневековья появляются ножи вполне похожие на современные тактические. Боевой нож на войне используется не только как оружие, но и как инструмент для разделки туш животных, для обтачивания деревянных кольев и т. п. Многие боевые ножи имеют значительный вес около 400 грамм и длину клинка около 50 см. такие большие ножи-тесаки иногда относят к фальчионам.
![]() |
| Литовский нож 15 века, обратите внимание на дополнительный упор на рукояти |
![]() |
| Крестьянский нож нем. Hauswehre с упором для руки. Вероятно Швейцарский 16 век. |
![]() |
| Кинжалоподобный, но все же крестьянский боевой нож 15 века |
Кинжалы средневековья
наверх
Кинжал (нем. Dolch, от лат. Doleguinus, фр. Poignard, Dague, англ. dagger, ит. pugnale от лат. Pugione) – это холодное оружие с коротким колюще-режущим обоюдоострым клинком, и рукоятью оснащенной гардой, предназначенное для тесной схватки, и по своему действию рассчитан на короткие, быстрые движения, иногда мог еще применяться в качестве метательного оружия.
В средние века кинжал стал еще и вспомогательным оружием, которым окончательно добивали противника, после того как он был тяжело ранен другим оружием, будь то меч, топор и т. д. Этот вид кинжалов так и назывался – кинжал милосердия (нем. Gnadott; франц. misericorde – нож милосердия). Таким кинжалом можно было легко проникнуть между стыками пластин доспеха и даже проколоть плетение кольчуги. Не на войне его использовали как средство защиты и скрытого нападения, кинжал можно быстро достать и легко спрятать.
Уже с XIII века знатные воины в бою особы наряду с мечом стали применять и кинжалы. С той поры кинжал превращается в общепринятый предмет вооружения. Его носят на правом боку, на перевязи, подобно мечу. В 1340 году, когда феодалы стали носить на бедрах широкий пояс, который считался знаком достоинства рыцарского сословия, кинжал стали подвешивать к нему. В середине 14 в в бою кинжал кинжал подвешивали на цепи. Цепь укреплена сверху на правой стороне груди, чтобы не потерять оружие в рукопашной схватке. В городах средневековой Европы было принято, чтоб нож или кинжал просто так не болтались. Для этого его носили в обычной кожаной сумке или в ножнах. С XIV века не только нож, но кинжал становится неразлучным спутником мужчины, его носят на ремне с правого бока, а то и спереди. Из Испании в конце XV века распространился обычай носить кинжал за спиной рукоятью вниз. Эту моду переняли швейцарцы и немецкие ландскнехты.
Кинжал часто использовали в дуэлях и поединках как средство парирования удара вместо щита, то есть в правой руке держали основное оружие, а в левой руке – кинжал как вспомогательное. Такие кинжалы получили название «левая рука». Для достижения наибольшего эффекта эти кинжалы для левой руки часто делали с необычными лезвиями. Ими можно было не только отражать удары, но и захватывать оружие противника. Также в этих кинжалах мог быть спрятан тот или иной секретный механизм, предназначенный для различных целей.
Помимо секретных механизмов, которые увеличивали шанс нанести один-единственный смертельный удар, иногда применяли также особые кинжалы, лезвие которых было покрыто ядом. Достаточно было таким кинжалом нанести даже небольшую царапину, и противник умирал мучительной смертью.
Типология кинжалов
В средние века было пять основных типов кинжалов. Каждый кинжал было отличить от других типов по форме его рукояти. Иногда к средневековым кинжалам добавляют и стилет, несмотря на то что стилет появился под самый закат средневековья.
У Квилон кинжала черенок, крестовина и навершие были как у меча. У Базелярда рукоять была по форме симметрична букве "I". Рондельный кинжал имел круглые пластины вместо крестовины и навершия. Ушастый кинжалы имели два выступающих диска вместо навершия, а Баллок кинжалы отличались наличием двух круглых долей на месте крестовины.
![]() |
| Баллок кинжал, Басселяр, Квилон, Ушастый кинжал, Рондельный Кинжал, и Стилет |
Квилон (quillion, dolchmesser) появился в 13 веке, наиболее ранние версии его напоминают укороченный меч со скрещенной гардой. Этот кинжал был традиционно рыцарским оружием, носился на правой стороне и получил свое название из-за гарды, пересекающей рукоятку перпендикулярно ей (квилона), т. е. был как бы миниатюрным мечом. К 15 веку этот тип кинжала стал интенсивно трансформироваться во вспомогательное оружие для работы левой рукой совместно со шпагой, в русской оружиеведческой традиции позднюю версию кинжала квилон, оснащенную щитком и крюками клинколомами называют Дага. Вообще техника работы с кинжалом в левой руке была детально разработана и даже появился специальное название "мен гошш" от франц. main gauche что и означает левая рука. Этот термин и система парирующих действий кинжалом сохранились в Испании до 18 века. В это же время появляется техника применения кинжала «лезвие вперед», т. е. для режущих движений, что может рассматриваться как рождение искусства сражаться ножом на Западе. На некоторых экземплярах щиток гарды был вывернут наружу. Квилон носился не только на правом боку, но и сзади чтоб слегка скрыть, за поясом, с рукоятью, направленной влево, чтобы удобнее было доставать, или вправо, если он использовался без меча.
Что интересно во всех книгах пишут не "мен гошш", а "маин гауче" читая французские слова как английские.
Рондел или Рондо (rondel)- один из самых популярных военных кинжалов. Свое название получил за свою круглую гарду (Rond - круг фр.) и головку. Дискообразный эфес предотвращал соскальзывание руки на лезвие при мощных, прокалывающих насквозь ударах и защищал руку от ударов лезвием меча противника. Рукоять представляла собой гладкий цилиндр, т. к. скольжение руки стопорилось гардой. Само лезвие имело довольно разные формы, обычно оно было вытянутым и заостренным с двух сторон или четырехгранным, хотя иногда встречались ронделы с трехгранным лезвием, предвестники итальянских стилетов. Расцвет этого оружия приходится на 15 - 16 век. Были вытеснены стилетами.
Базелярд (англ. baselard иногда читается как басселярд) – кинжал названный по имени города в Швейцарии (Базеля), откуда он происходит. Самая распространенная версия кинжала в Европе в 14 - 15 веках. Постепенно этот кинжал трансформировался и стал называться «швейцарским». К 15 веку рыцари перестают носить басселард, но горожане и пешие солдаты продолжают пользоваться им. Базелярд, как и рондел, имел крупную гарду, однако она не была круглой, а состояла из крестовины и упора со стороны головки, так что ручка выглядела как римская цифра «I». Басселард имел двустороннюю заточку клинка, и вдоль центра лезвия проходила слабовыраженная «алмазная грань», т. е. выпуклость как у некоторых вариантов мечей. Очень длинные базелярды даже носились слева, как меч, подвешенные на перевязи.
Баллок (англ. Ballock dagger) он же "кинжал с яйцами" — известен как кинжал со специально укрепленным острием (для пробивания прочных предметов). Поэтому наиболее часто использовался как кинжал милосердия. Не смотря на то что к 17 веку трансформировался в шотландский кортик, который был довольно практичен на ранней стадии своего развития, когда он еще очень напоминал баллок его не стоит путать с национальным шотландским кинжалом. Баллок кинжал был хорошо сбалансированным оружием с умеренно длинным, постепенно сужающимся лезвием и односторонней заточкой. Он мог удерживаться левой рукой из-под щита, в то время как правая рука угрожала противнику широким мечом. Меч, щит и кинжал — все являлось как защитным, так и атакующим оружием, способным наносить опасные удары. Баллок кинжал использовался и рыцарями и простыми воинами и вовсе не военными людьми до конца 17 века, но рыцари отказались от Баллока уже середине 15 века заменив его Ронделем (об этом типе кинжалов отдельная статья - Bаllock dagger кинжал с яйцами).
Ушастый кинжал (англ. ear dagger) известен так же как "Бургундский кинжал" и "Левантийская дага" использовался с 14 по 16 век и назывался так за два диска наподобие ушей, крепившихся к головке ручки. Первоначально они располагались вдоль рукояти почти параллельно, но постепенно стали все больше и больше расходиться в стороны, пока не образовали почти прямую линию, перпендикулярную рукояти. Рукоять украшалась узором и покрывалась пластиками из кости, металла или дерева. Гарды не было, лезвие от рукояти отделялось цилиндром несколько большего диаметра, чем рукоять. Для нанесения сильного колющего удара большой палец упирался между ушей навершия. Лезвие обычно делалось острым с двух сторон, однако с одной стороны оно было несколько длиннее, чем с другой. Носились кинжалы в ножнах из дерева, украшенных кожей и были оружием общества, носимым больше для украшения, чем для боевых действий. Но тем не менее их активно использовали итальянские наемные убийцы для ударов исподтишка.
Стилет (итал. stiletto)- нововведение 17 века, дожившее до нашего времени. Итальянский вариант кинжала, имевший сильно вытянутое, без режущих острых краев трехгранное или четырехгранное лезвие. Это колющее оружие продолжает использоваться и в некоторых современных вариантах или в качестве штыка, а во времена первой мировой войны им вооружались регулярные войска и назывался он окопным кинжалом.
Анатомия кинжала
наверх
Здесь в целом терминология, та же что подавалась в статье "Современные боевые ножи", но с некоторыми новыми-старыми деталями.
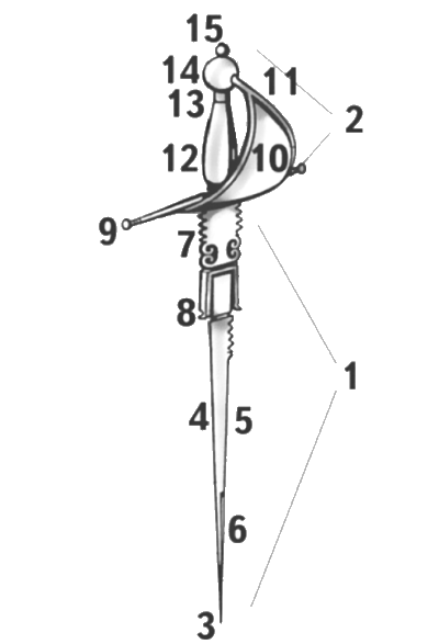
![]() |
1. Клинок - основная рабочая и боевая часть кинжала. 2. Рукоять, эфес - служит для удерживания оружие в руке, состоит из навершия, черенка и гарды. 3. Острие, вершина, кончик клинка 4. Лезвие - заточенная грань клинка, у кинжала их две. 5. Обух - не заточенная грань клинка, для кинжалов нехарактерна, но бывает. 6. Перо, оно же и обоюдоострый конец клинка, у кинжалов редко выделяется как отдельная деталь. 7. Пятка, плечики - не заточенная область клинка прямо у рукояти. 8. Крюки-клиноломы, предназначены для перехвата вражеского клинка, здесь отдельная деталь от крестовины, но бывает выходит прямо от крестовины, а иногда даже заменяет её. 9. Крестовина, служит больше фиксатора руки, предотвращая сползание руки на клинок. 10. Щиток. 11. Отбортовка, загнутый край щитка позволяет увеличить прочность щитка. 12. Черенок - у многих ножей и кинжалов рукоять состоит только из черенка. 13. Нижнее кольцо - необходимо для фиксации обмотки черенка рукояти. 14. Навершие, головка - препятствует выскальзыванию кинжала из рук. Служит для уравновешивания оружия. 15. Пуговка - шляпка заклепки фиксирующей навершие и гарду. |
Формы клинков и крепление рукоятей
наверх
![]() |
![]() |
Сечения клинков (выше) Разнообразные формы сечения показывают, как человек пытался получить возможно более жесткий клинок при его возможно меньшей толщине.
Параллельные плоскости (А) создают самый мягкий, гибкий клинок. Клинки с выпуклыми (В) или вогнутыми, с желобками (С) сторонами более жесткие, так же, как и ребристые (D), трехгранные (Е) и ромбические (F). Шилообразные клинки (G) без режущих краев применялись только для колющих ударов.
Для нанесения колющего удара кинжалы обычно имеют суживающийся клинок, часто обоюдоострый. Разнообразие очертаний клинка очень велико. Некоторые стали традиционными для определенных районов, другие диктуются материалом изготовления: Широкий треугольный клинок, такая форма компенсирует мягкость металла. Узкий треугольный клинок, идеален для боевого кинжала. Мечевидный клинок одинаково подходит и для колющих и для режущих ударов.
![]() |
| Реконструкция облика ножей викингов, славян и т. п. периода VIII–X в. в. С точки зрения простоты и удобства они весьма хороши как вспомогательный хозяйственно-бытовой инвентарь. Длина рукояти и клинка почти равная в целом такие изделия от 20 до 30 см длиной. |
В ранних образцах кинжалов (даже не средневековья а античности) рукоять крепилась к клинку заклепками (а). Крепление черешкового клинка более прочное (b). Самой прочной является конструкция с черешком во всю длину рукояти (с). Разнообразие форм и материалов рукоятей безгранично. Но для крестьянских ножей наиболее популярной была деревянная рукоять. Кто побогаче мог позволить рукоять вырезанную из кости или камня или из ценной породы древесины. Применялась также оплетка из кожи, с конца 15 века особым шиком было делать оплетку на кинжалах из витой проволоки, вплетая стальные, серебряные и золотые проволочные нити. На практике проволока очень полезна в случае применения латных перчаток и рукавиц, которые своими краями глубоко царапают кожаную и деревянную поверхность. Популярная в наши дни рукоять из кожаных шайб для средневековья не характерна.
Как хранить и ухаживать за старинными ножами и кинжалами читайте на Милитари Ревю.
![]() |
![]() |
| Рукоять 16 века, скорее всего от Базелярда. Выполнена из орехового дерева. | Оплетка проволокой рукояти кинжала, такая оплетка применялась и для мечей. |
Несколько исторических примеров ножей и кинжалов
наверх
Новоделы старинных ножей и кинжалов
наверх
![]() |
![]() |
| Реконструкция большого ножа, с набором ножа и вилки | Реконструкция Базелярда из коллекции музея Royal Armouries |
наверх
Использована литература.
В.Н. Попенко. Холодное оружие Востока и Запада. Москва. 1992.
Эварт Окшотт. Архология оружия. От бронзового века до эпохи ренесанса. М.: Центорополиграф. 1994.
Иллюстрированная история оружия./Пер. с английского А. Самсонов. Мн.: ООО "Поппури" 2004.
К. В. Асмолов. История холодного оружия. Часть 1. К.Ц. "Здоровье .Народа" 1993 г.
В. С. Жарков. История создания рыцарских орденов и каталог холодного оружия. Снаряжение рыцарей средневековой европы. - Брест. Академия. 2005.
Джеральд Уинланд/ Мечи Шпаги и Сабли Настольная книга коллеционера. М.: Тривиум. 1991
В. Н. Хорев, М. Б. Ингерлейб. Твой нож. Астрамедиа
Хорев В. Н. Реконструкция старинного оружия / В. Н. Хорев. — Феникс, 2006. — 249,
Emil Vollmer Werlag. Blanke Waffen.
Форум My armory
































